
Le chariot télescopique ULM est conçu pour vous faire gagner du temps et de l’argent, que vous travailliez à Amiens, Abbeville, Laon, Clermont ou ailleurs en Picardie. Idéal pour les chantiers d’aménagement paysager, les centres équestres ou les projets de rénovation, il est disponible en versions de 1,25 t ou 1,5 t, ce qui lui permet de déplacer facilement des palettes de parpaings, des briques ou encore des bottes de paille. Grâce à ses dimensions compactes et ses capacités tout-terrain, l’ULM est parfait pour manœuvrer dans des espaces exigus. Son poids léger facilite le transport sur une petite remorque, le rendant pratique pour les déplacements entre différents chantiers picards. De plus, les nombreuses options disponibles, comme le système de décolmatage automatique des radiateurs, le préfiltre à air et les pneus adaptés à différents terrains, permettent de personnaliser l’ULM selon l’environnement dans lequel il évolue, garantissant ainsi une efficacité maximale et une rentabilité accrue pour chaque projet.
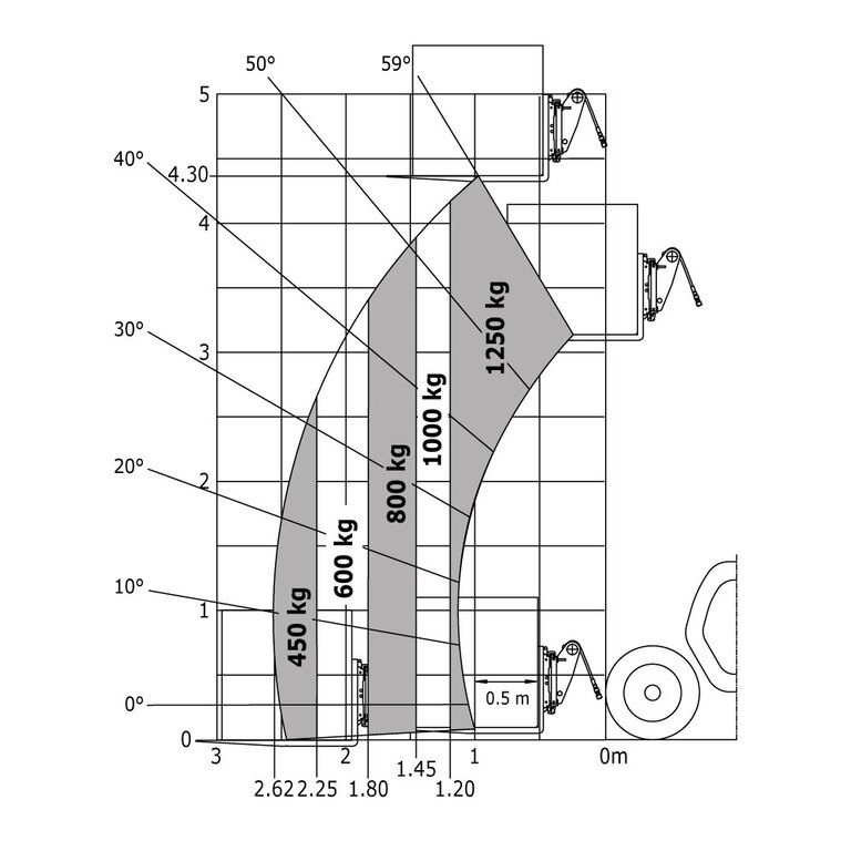
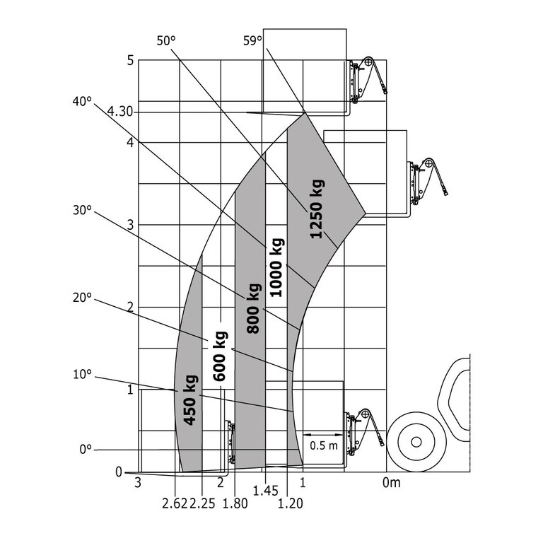
Capacité max.
Hauteur de levage max.
Déport maximal
Déport à hauteur max.
Effort d'arrachement au godet
Masse transportable (min. / max.)
Garde au sol
Empattement
Longueur hors tout au tablier (avec crochet d'attelage)
Longueur hors tout au tablier (sans crochet d'attelage)
Largeur hors tout
Largeur hors tout cabine
Hauteur hors tout
Angle de déversement
Angle de cavage
Rayon de braquage (extérieur roues)
Pneus standards
Mode de direction
Levage
Descente
Sortie de télescope
Rentrée de télescope
Cavage
Déversement
Marque du moteur
Norme moteur
Modèle du moteur
Nombre de cylindres - Cylindrée
Puissance moteur (CV / kW)
Couple max. / Régime moteur
Effort de traction en charge
Système de décolmatage automatique des radiateurs
Système de refroidissement
Type de transmission
Nombre de vitesses (avant / arrière)
Vitesse max. de déplacement (peut varier selon la réglementation applicable)
Blocage de différentiel
Frein de parking
Frein de service
Type de pompe hydraulique
Débit hydraulique - Pression hydraulique
Distributeur "flow sharing"
Carburant
Capacité du réservoir hydraulique
Vibration sur l’ensemble mains/bras
Bruit à l’environnement (LwA)
Bruit au poste de conduite (LpA) testé selon la norme NF EN 12053

